EasySMX M15 Operation Tutorial
Product Brief
EasySMX M15 is a premium mobile game controller. Based on the EasySMX previous mobile game controller M10 and M05, EasySMX M15 has optimized various parameters such as shape and buttons. To a certain extent, it improves the game experience of mobile players.
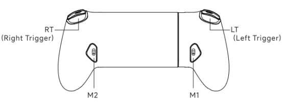
Button Layout


Useage
1.Connect the phone via the type-c port
2.Pull the controller up and insert the phone.
3.Close the controller to complete the connection

Connection method
1.Wired connection (via type-c port)
①HID Mode (FN+A for 2 seconds)(Only for Android)2.Bluetooth connection
①Bluetooth Xbox Mode(Xinput) (FN+TURBO for 2 seconds)
Bluetooth Name:Xbox Wireless Controller
The violet light blinks slowly and then stays on, indicating a successful connection. This mode is suitable for playing streaming and console games. The controller vibration only works properly in this mode.

Vibration Function
Native Vibration
Support games with native vibration signals on the streaming platform.
Turbo Function
Turbo Setting
Hold TURBO + the button you want to set the Turbo function for. The red light will blink three times quickly and then go out, indicating a successful setting.
Speed Adjustment
Hold the TURBO button + the left and right cross buttons to adjust the speed of the bursts in the sequence of 10-20-30-40 times.
TURBO Cancel
Press and hold the key that has been set with the burst function, and the tap the TURBO key to clear the burst. The red light will turn on for 1 second and then turn off, which means that it is canceled successfully.The supported buttons are A/B/X/Y/LB/RB/LT/RT/L3/R3
Programmable Function
Single Button Programming
Press the FN button + M1/M2 for 2 seconds to enter programming mode, press the button you want to program, and then press M1/M2 again.

Linear Trigger Function
Activation
Hold FN + the linear trigger LT or RT that needs to be activated. The pink light stays on for 1 second and then goes out, indicating successful activation.
Sleep Function
Automatically enter sleep mode after 10 minutes of inactivity.
Press and hold the TURBO button for 6 seconds to immediately enter sleep mode.
After sleeping, the ABXY button can wake up the controller.
Other Functions
Screenshot Function
Double-click the FN button to take effect in HID mode.
Volume Control
TURBO + Up and Down cross buttons to increase and decrease system volume (only in HID mode)
Switching ABXY Layout
Hold FN and press the right joystick for 2 seconds to switch back to the prompt. The controller vibrates again to return to the XBOX layout.
Pricing & Availability
The EasySMX M15 officially launched on 26th July 2024 and is available at a competitive price of $59.99.
M15 official buy store: https://bit.ly/4c05Nxm
Leave a comment